I

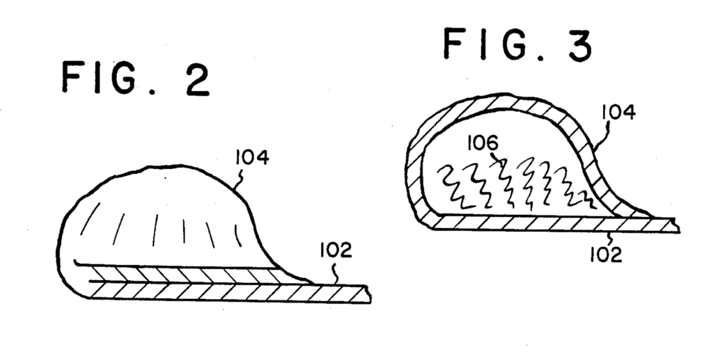
just heard the most incredible story on the Brooklyn Magazine podcast thanks to a tip from SPT guide Amy. Apparently there’s a guy in Brooklyn who claims to have invented stuffed crust pizza and his story is incredible. I know what you’re thinking — didn’t Pizza Hut come up with that in the 1990s? Theirs might be the most well known version, but Anthony Mongiello, the son of a cheese industry professional, did it first! He even sued Pizza Hut for $1 billion. You can learn Mongiello’s whole story by watching the new documentary Stolen Dough. It’s an incredible story about food, intellectual property, and pride.
You can also listen to the story on the latest episode of Brooklyn Magazine’s podcast or watch this clip on Mongiello’s YouTube page. Even better, you can check out the original 1987 patent for stuffed crust pizza!
Although this history is new to me I have heard other tales of stuffed crust pizza’s rise to power. A few years ago the story emerged about I’d heard about the US government’s involvement in stuffed crust pizza as a response to low dairy price forecasts. I’ve also tasted a pizza popular in Naples since the 1940s that features a stuffed crust, but its form is that of points in a star rather than a continuous loop like what Pizza Hut, DiGiorno, and Anthony Mongiello have made.
It’s always fun to hear new stories about pizza’s evolution, especially ones this recent and local to us here in NYC. Enjoy the Brooklyn Magazine podcast and please check out the documentary if you get a chance!
